还有3个信息需要填写哦~
底价将以短信的形式发送到您的手机
个人信息不会泄露给第三方
个人信息不会泄露给第三方
获取底价

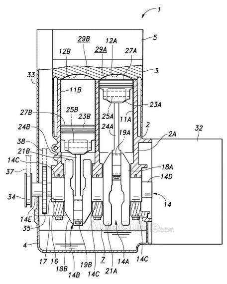
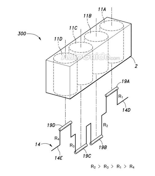
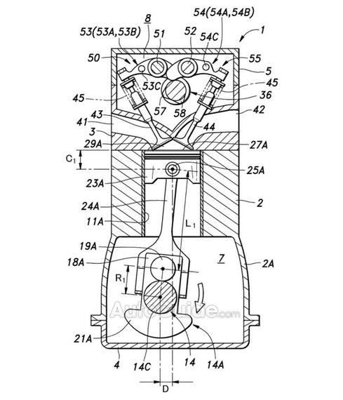
新浪汽车讯,日前据外媒报道,本田注册了一个新发动机专利,其最大的特点是具有活塞可变行程,使得每一个汽缸能够有着不同的工作表现。

按照此前的发动机工作原理来看,假设这是一台2.0L四缸发动机,那么它的每一个汽缸大小应该都是500cc,如果要使汽缸能够按需工作的话,那么根据汽缸工作的个数,只有500cc、1000cc、1500cc以及2000cc这四种情况。
而新的发动机技术能够通过曲轴半径的变化让每一个汽缸活塞拥有不同的行程,这样就使得每一个汽缸在不同的“排量”下运行,据悉其将提供多达15种不同的组合,换句话说,同样的这台2.0L四缸发动机如果应用该技术那么则有15种的不同表现。

从新专利的描述来看,其可以在直列两缸、三缸、四缸以及V6发动机上应用。目前本田方面还没有公布这项技术的更多细节,但外媒预测其将主要提高燃油经济性,或许不久的将来,我们能够迎来该系统的量产。(文章来源:Autohome)