还有3个信息需要填写哦~
底价将以短信的形式发送到您的手机
个人信息不会泄露给第三方
个人信息不会泄露给第三方
获取底价

在众多消费者眼里,不管是川崎的街车还是跑车,都具备着川崎骨子里的野性。从ZX9R,到现款ZX10R再到H2R,疯狂的曲轴马力从180Ps增加到210ps再到300+Ps,论加速力,确实川崎在日系里算的数一数二,即便是世界上机车销量第一的本田也要敬他三分!



▲川崎H2
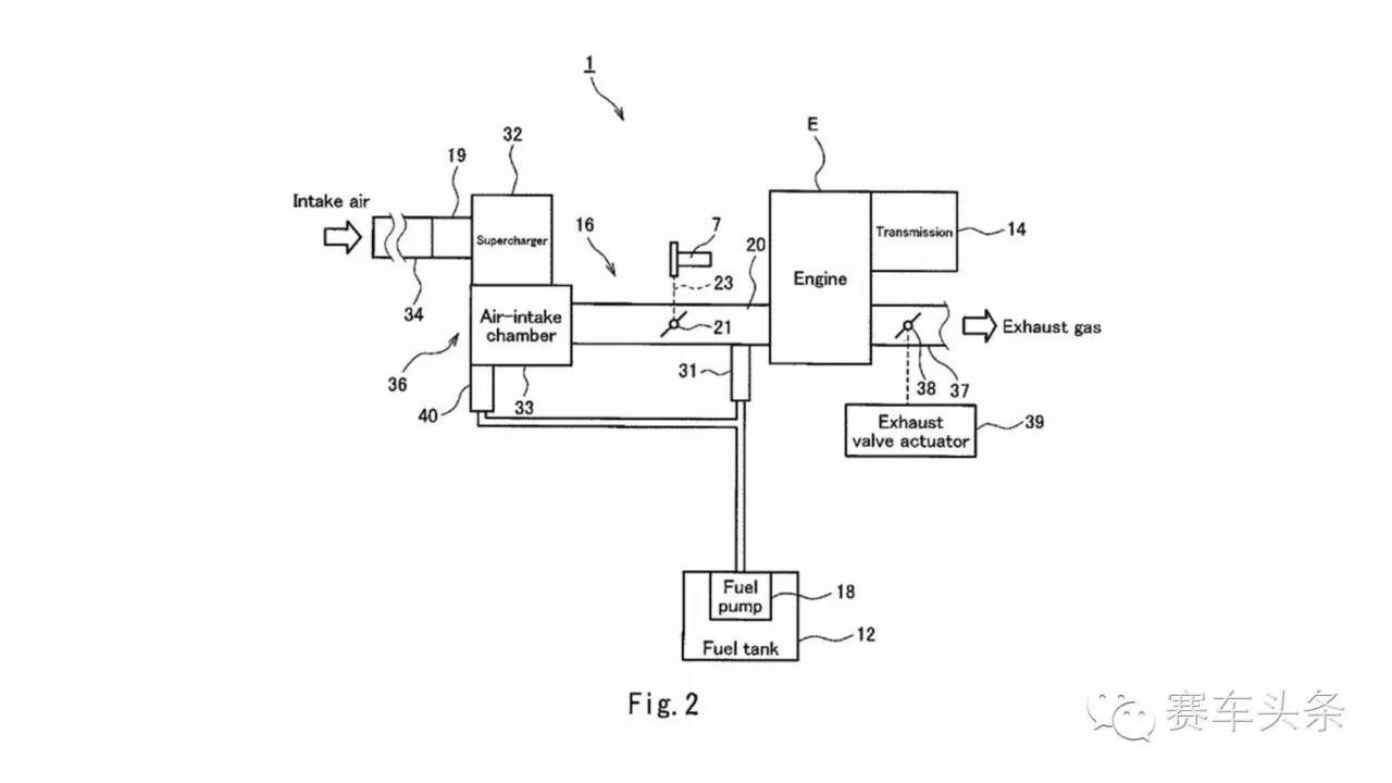
燃料箱下方也进行了相应的调整,留有了一定的空间,同时也使得整车的质量都集中在这一部分。

小排量机械增压的川崎的到来是人们所预期的,早在川崎发布大排量的H2和H2R时人们就预测川崎会增加一款小排量的跑车来扩充自己的产品整容。流言称铃木的双涡轮增压理念任然在川崎的考虑范围之内,但还未被川崎所证实。

设计图显示,川崎在在发动机内部加装了一个燃油喷射器,也就构成了多点燃油喷射系统。该系统可保证摩托车在不同转速情况下的动力输出不间断,并起到进一步提升马力的作用。

业内的消息称,川崎准备在未来两年发布16款不同的车型。而本田和雅马哈又不大可能坐以待毙,所以如果你痴迷于日本机车的话,那么这几年肯定会令你十分兴奋!


此外,除了Ninja R2,川崎还注册了Ninja R2-2、Ninja S2、Ninja S2R等车型的商标,相信川崎在未来还有更多机械增压车型推出,让我们一起期待吧!


传送门:《赛砖家| 装X第一步,教你如何开走一辆赛车》《1.9秒破百,起步比F1快!解密砖叔最新福克斯战车》《2017达喀尔阿提亚开丰田,新款Hilux竟是一辆巴吉!》





(来源:赛车头条)