还有3个信息需要填写哦~
底价将以短信的形式发送到您的手机
个人信息不会泄露给第三方
个人信息不会泄露给第三方
获取底价
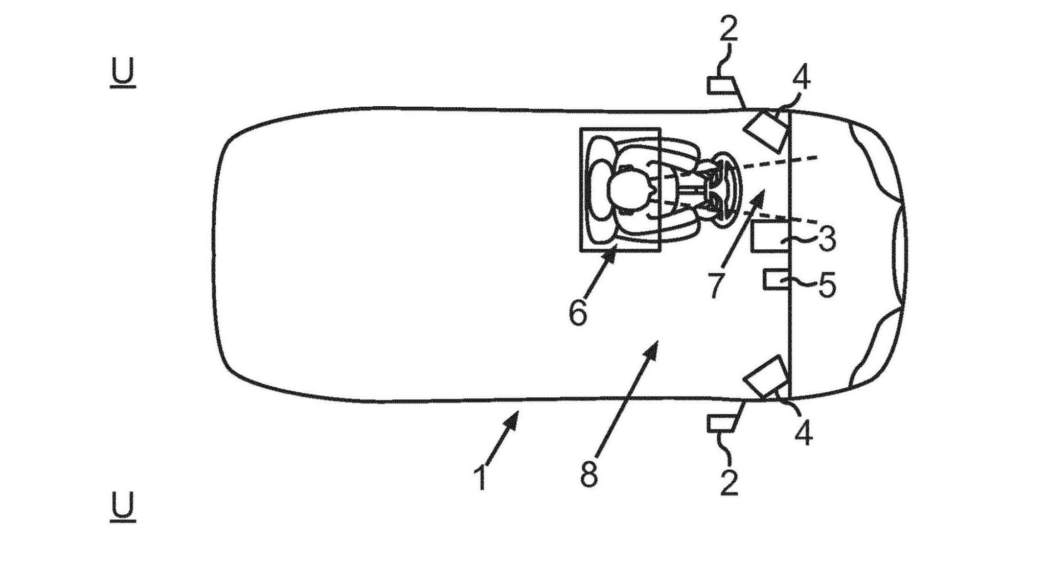
近日,奥迪官方在中国申请的虚拟后视镜专利终于正式获批,该申请在2018年就已经提交。但该专利能否尽快用于中国市场依旧是个未知数,但随着新技术的不断引入,相信虚拟后视镜技术也将广泛被认可。

奥迪旗下的e-tron车型率先采用了虚拟后视镜的设计,但在国内上市时,e-tron却没有延续该设计。官方表示,是因为国内目前不允许使用该技术,而且当时专利申请并未获批,所以只能提供光学后视镜。


现今,奥迪的虚拟后视镜专利正式获批,未来奥迪的其他车型能否在国内使用上虚拟后视镜,我们目前还无从知晓,但由于传统的光学后视镜风阻较大,许多车企都在研发虚拟后视镜来进行代替,相信在未来虚拟后视镜的使用将会进行普及。
本文转自:有车CLUB