还有3个信息需要填写哦~
底价将以短信的形式发送到您的手机
个人信息不会泄露给第三方
个人信息不会泄露给第三方
获取底价
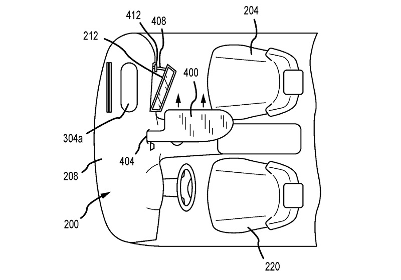
日前,蔚来汽车最新申请的专利图中,我们发现了一个新的设计,该车的副驾前方配备一块屏幕。


据悉,该专利名为《自适应结构安全气囊》,而气囊的弹出方式也比较特殊,似乎是想通过这种特殊设计,以避免副驾乘客在事故中撞击屏幕。从专利图上可以看到,该屏幕还可以进行角度调节。


此前,曾有一组疑似蔚来汽车全新的内饰设计及车机的UI界面效果图曝光。新内饰的样式与蔚来在售车型上现用的的样式完全不同,中控台上贯穿的屏幕取代了现款的纵向放置的大屏幕,这块连屏的尺寸达到了70*16cm。
本文转自:有车CLUB