个人信息不会泄露给第三方
今天是7月1号,2020年已经来到了下半年。虽然是传统的车市淡季,但好消息是疫情的营销已经微乎其微了,绝大部分车厂也已逐渐恢复正常产能。我们也看到各种车型销量榜从12到3月的断崖式下滑也迎来了稳定的增长,既然一切回归正常,不妨我们也来回顾一下过去的一年里咱们国人都在买什么车?

我们先从微型车聊起,在过去的一年里12月份迎来了最高值,可是也才不到3万台,侧面反映出国民生活水平的提高吧。

而极小份额的微型车市场中,以奇瑞新能源等自主品牌的新能源车型占比超过了80%以上。终端售价也集中在7万元以内。


A0级也就是小型车市场不太乐观,今年的5月份共售出4.53万台,比去年同期下降了近50%,这是一个很夸张的数值了。说来也是,现在马路上见到的A0级新车确实越来越少了。

而榜单前十名的车型只有一款国产品牌的新能源车型,欧拉R1。榜单上的大部分车型都是些小型车界的老炮选手了,致炫以7405台的销量夺得小型车销量第一名。悦纳的表现差了些意思,5月份的销量为2050台,不过韩系车近两年集体乏力,情有可原。


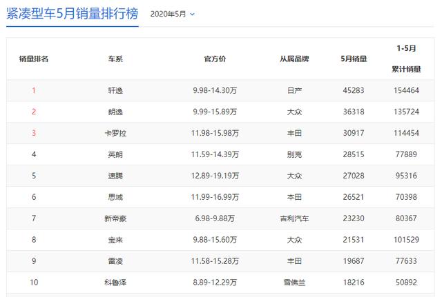
A级车型来了,虽说比去年同期稍有下降,但近4个月来总体呈上扬趋势。今年5月份A级车共售出49.67万台。

5月份A级轿车排行榜中轩逸以45283台的销量继续霸榜,比第二名的朗逸有将近9000台的差距,卡罗拉紧随其后,而以价换量的英朗也是拿到了第四名的好成绩。新帝豪成为了榜单前十名的唯一一款自主品牌车型,23230台的销量,皮实耐用的国货之光!总结,丰田和大众是真正的赢家。


中型车市场看似不错今年5月份销量达到了18万台,令人意想不到的是比去年同期竟有所增长,想必是跟大部分中型车在终端的大量优惠有密切联系。

今年5月份广汽丰田凯美瑞以16385台的成绩拿下了第一名,而4月份第一名的广汽本田雅阁一下子落了3个名次,以12329台的销量屈居第四名,但1—5月份的总销量超过了6万台,稳居第二。而华晨宝马3系由于终端售价进一步的优惠,以15334台的销量上升到了5月份第二名,看来宝马还是香啊。而唯一的自主品牌车型红旗H5要在第14名才找得到了,不过H5的销量一直比较稳定,继续加油吧,希望7月份上市的1.5车型会有一个不错的市场反馈。


C级车市场中与去年相比变化不大,5月份销量回升到了5万台。最近几年的C级车确实疲软了很多。

奥迪C8(现款A6L)以15621台的销量夺得了5月份最佳,依旧延续着当年C7的那种强劲势头,奔驰E级 (配置|询价)13187台紧随其后,接下来是宝马5系 (配置|询价)。好像C级车中国人只认可BBA,第四名的凯迪拉克CT6竟只有2876台的销量,小于第三名宝马5系的三分之一。而目前仍以价换量的沃尔沃S90苦苦支撑这2648台的销量,捷豹XFL疯狂甩卖也不过卖出了601台。第十名是奥迪A6L (配置|询价)新能源,5月份共售出了660台,660台就能上C级车销量排行榜的前十名,而且还是第一名的衍生车型,由此可见C级车市场中至今没有任何对手可以抗衡"E"、"5"、"6",可悲,希望红旗H9可以冲击一下当前格局。

本文总结:以上是轿车市场中近期概况,从微型车到中大型车,拿一些典型的例子聊聊。而D级车部分情况比C级车部分更加两极分化,本文就不多赘述。欲知SUV市场情况如何?且看下篇文章。
本文转自:优视汽车