还有3个信息需要填写哦~
底价将以短信的形式发送到您的手机
个人信息不会泄露给第三方
个人信息不会泄露给第三方
获取底价

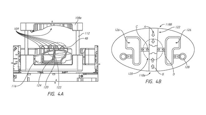
近日,继新的布线结构后,特斯拉的又一项专利曝光。新专利为“用于制作车架的多向单体浇铸机”,特斯拉称,该专利或将大大减少机器人焊接零件的流程,从而提升产能。



此次特斯拉公布的这项专利可谓打破常规,目前普通车架的金属零件需要被机器人焊接在一起,而特斯拉的这个“多向单体浇铸机”或将减少甚至结束“焊接”这一流程。
特斯拉CEO马斯克曾表示将进军用于汽车结构的铝铸件领域,如今的“多向单体浇铸机”的专利也是他在向所说的目标前进。但这一技术何时落地,应用效果如何,能否取代发展了几十年的车身焊接技术,我们拭目以待。