还有3个信息需要填写哦~
底价将以短信的形式发送到您的手机
个人信息不会泄露给第三方
个人信息不会泄露给第三方
获取底价
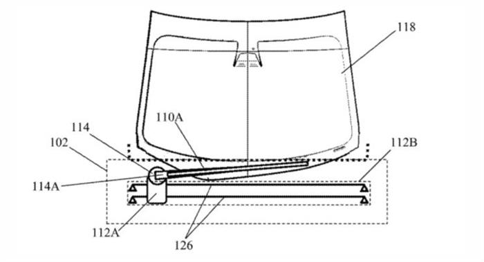
日前,据外媒报道,特斯拉一项将磁悬浮技术与雨刮器相结合的新型雨刮系统将适配于Cybertruck车型。

新的雨刮系统与传统的雨刮器工作原理不同,并非简单的以固定轴为中心旋转进行清扫,而是将一条磁悬浮导轨安装于前风挡玻璃下方,导轨上的缠绕电磁线圈带有一个金属块,有一根雨刮臂与其相连。当开启雨刮功能时,雨刮臂将调整至与电磁导轨相垂直的角度,在金属块通电后通过电流的控制在导轨上进行往复运动,清扫雨水。


据悉,这项专利能够避免传统雨刮器单点旋转后留下的工作盲区,使驾驶员的视野变得更清晰。根据特斯拉的专利申请内容,这种电磁雨刮系统从设计上减少了摩擦系数,要较传统雨刮器更省电节能,提高了电池的利用效率。
其实早在2019年9月特斯拉就提交了这项专利,但迟迟未见量产。据外媒透露,特斯拉指出该专利可能在即将发布的纯电动皮卡车型Cybertruck上首先进行搭载。