个人信息不会泄露给第三方
在汽车制造商不断努力下,动力系统革命正在加速传统内燃机过渡到电动机,而在驾驶室内也正在经历技术革命。智能手机的快速普及及信息娱乐技术的提升,汽车制造商已经开始集成Amazon Alexa、Apple CarPlay和Android Auto等互联服务,车载触摸屏成为智能手机和智能家居的最新扩展。


现在,梅赛德斯-奔驰已经把56英寸超宽Hyperscreen信息娱乐技术引入旗舰纯电动EQS轿车之上。最新的专利表明,梅赛德斯-奔驰未来还将通过一种控制信息娱乐系统的革命性方式继续推进技术进度,让我们忘记如今主流的触摸屏和语音控制,用浮动水晶球这种新方式来控制信息娱乐系统吧。

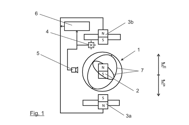
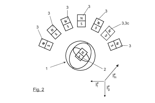
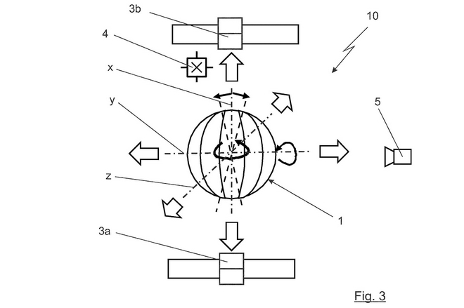
梅赛德斯-奔驰向世界知识产权局申请的这项新技术专利显示,这是一个用来控制车辆功能的控制装置,可以由人主动启动进行控制,控制装置则设计为一个漂浮在受调节磁场中的物体。有图为证,我们可以更清楚地了解这项发明。利用磁场技术,一个球形控制装置漂浮在中控台上方,控制球可以自由悬停和旋转,传感器单元将能够通过光、运动、接近度和陀螺仪传感器检测到控制球的启用和输入。浮动控制球可以向多个方向滚动,并且可以像换挡杆一样推动,按下控制球可以用来单击功能或选择菜单选项。

这个发明似乎与巫师的魔法球有异曲同工之妙,看起来会使用玻璃球或水晶球,但考虑到磁场作用,事实上应该会是一种金属球,控制球安装有一个永磁体。实际上,起亚已经在EV6电动车上应用了旋转球体驱动控制装备,当然只是传统的机械概念,没有悬停和旋转功能。

新的专利申请并不意味着这种设计可以保证安全使用,未来会投入应用。就拿梅赛德斯-奔驰的浮动水晶球来说,存在潜在设计缺陷也不为可能,比如说需要通过磁场使控制球悬停,但也需要足够强的磁力让其固定到位。想象一下,当控制球飞出磁场发生巨烈转向,最终撞向乘客面部,或者出现像埃隆·马斯克展示特斯拉Cybertruck时砸碎车窗玻璃的尴尬场景。

事实上,由于全球汽车行业芯片供应短缺,宝马一些新车已经不再提供触摸屏,梅赛德斯-奔驰这项新发明是否也意味着,现在正流行的大尺寸触摸屏也在不久的将来成为过去。奔驰的更多消息,敬请关注后续报道。(来源:WIPO 编译:Kishi.W)