宾利申请自动驾驶汽车方向盘专利 或用于首款电动车上

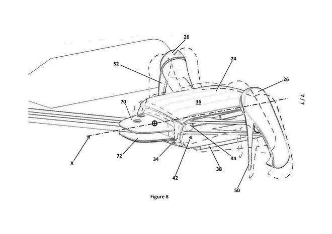
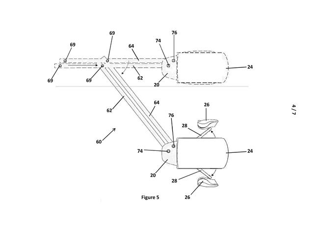
宾利已向英国专利局申请了一款于用自动驾驶汽车方向盘的设计专利,展示了一种铰接机构,可使方向盘能够在工作位置和收起位置之间摆动,由驾驶员侧车门向外折叠横向收起,从而实现完全不同的驾驶室布局。

宾利申请自动驾驶汽车方向盘专利 或用于首款电动车上
宾利申请自动驾驶汽车方向盘专利 或用于首款电动车上
宾利申请自动驾驶汽车方向盘专利 或用于首款电动车上
宾利申请自动驾驶汽车方向盘专利 或用于首款电动车上
宾利申请自动驾驶汽车方向盘专利 或用于首款电动车上
宾利申请自动驾驶汽车方向盘专利 或用于首款电动车上
宾利申请自动驾驶汽车方向盘专利 或用于首款电动车上

网友点评

    二手车

      查看更多二手车
      还有3个信息需要填写哦~
      底价将以短信的形式发送到您的手机
      个人信息不会泄露给第三方
      获取底价
      微博
      微信
      朋友圈
      关闭
      文章
      相关推荐
      取消
      取消

      海报生成中

      请稍后

      ...

      长按上图保存