个人信息不会泄露给第三方
盖世汽车日前独家获悉,吉利李书福已向硅谷一家飞行汽车公司投资,未来可能涉猎飞行汽车业务。

吉利或打造飞行汽车
汽车行业未来发展趋势中,新能源车和智能汽车当下正热,而飞行汽车的概念也开始逐渐走向幕前。来自吉利内部的人士向盖世汽车披露,李书福投资了美国硅谷一家做飞行汽车的公司。不过该人士没有给出细节信息。
根据盖世汽车了解,目前和硅谷相关的主要飞行汽车研发公司主要是Zee.Aero公司(位于山景城的初创公司)和Moller International公司(位于加利福尼亚州戴维斯市),另外来自斯洛伐克的Terrafugia公司(位于马萨诸塞州Woburn)同样在研发飞行汽车,而其投资人则来自硅谷。吉利所投资的飞行汽车公司可能是上述公司中的一家。
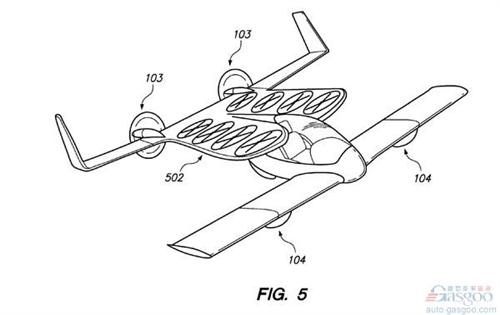
2013年时,Zee.Aero曾经公开过飞行汽车专利图,不过拒绝媒体采访,表示正在以隐蔽模式推进飞行汽车研发。
Zee.Aero公司飞行汽车专利图Terrafugia公司正在开发一款名为Transition的两座小型飞机。该机拥有可折叠机翼,能够像汽车一样在街道上行驶,不过公司将其称为“可在街上合法行驶的飞机”,而没有冠名以“飞行汽车”。

Terrafugia公司正在开发一款名为Transition的两座小型飞机
Moller International公司聚焦于垂直起降飞行器业务,其所打造的Skycar飞行汽车也更接近于飞行器概念。
Moller International公司开发垂直起降汽车实际上,飞行汽车的想法已经存在超过一个世纪。美国航空先驱格伦·柯蒂斯(Glenn Curtiss)于1917年设计出铝制Autoplane,一款介于飞机和汽车之间的飞行器。不过该机无法持续飞行,只能短暂跳跃。
1926年,亨利·福特推出一款长度15英尺的飞机,并命名为福特Flivver,外号“空中Model T”。
丰田特斯拉同样考虑飞向天空
盖世汽车盘点资料发现,在主流车企中,产销规模冠军丰田汽车以及电动车领跑者特斯拉汽车都有计划开发飞行车。
2014年6月,英国《独立报》等媒体采访了马斯克,其宣称:“我们显然可以造出一辆飞行汽车——但那并非难点。真正的难点在于,怎样让这辆飞行汽车具备卓越的安全性和安静性。原因是倘若这辆汽车声音隆隆,那么会使人不开心。”此外,马斯克还考虑打造类似007电影里出现的潜水汽车。
2015年9月3日,美国专利商标局(U.S。 Patentand Trademark Office)数据库公布了编号20150246720的专利申请,该申请来自丰田汽车,带有“飞行汽车可折叠翼”。丰田最早2014年3月递交该申请。根据该项专利申请,飞行汽车的“车翼”可以改变形状,既可以折叠贴靠车顶,以汽车模式行驶,也可以完全展开用来飞行。
丰田飞行汽车专利曝光据悉,丰田该专利两位确认的投资者分别来自于美国新泽西州和密歇根州。
不过,出身波音公司的前福特CEO艾伦·穆拉利却不看好飞行汽车:“飞行汽车是一个糟糕的念头。”