还有3个信息需要填写哦~
底价将以短信的形式发送到您的手机
个人信息不会泄露给第三方
个人信息不会泄露给第三方
获取底价
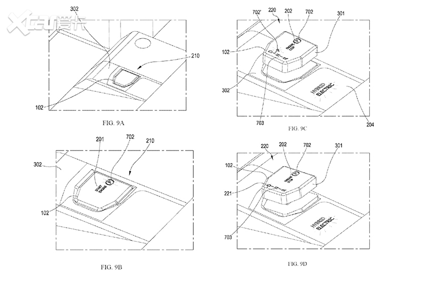
近日,爱卡汽车获悉,宝马申请了全新换挡杆的专利。从专利草图中可知,新换挡杆采用隐藏式设计,可实现自动升降,提供P、D、N、R四个档位,同时支持选择混合动力或纯电作为车辆驱动形式。另外,新档杆按键或采用触控装置。


根据此前发布的集团战略,宝马集团正在大踏步迈入电动化。宝马集团董事长齐普策曾公开表示:“我们正在不断扩大纯电动车型阵列,而不是仅仅覆盖几个细分市场。”显然,伴随新转型,宝马还将带来更多新的标志性设计。