个人信息不会泄露给第三方
5 月 10 日消息,据 Apple Insider 报道,新报告指出,苹果 Apple Car 可以拥有自己的 MagSafe 式充电器对齐系统,充电站上的触点会自动与电动汽车上的对应物完美对齐。
传闻中的 Apple Car 在猜测中呈现出多种形式,但一个反复出现的因素是它将使用电力来驱动车辆,也就是电动汽车。
如果苹果要制造电动汽车并以某种形式向公众提供,它确实必须解决汽车充电的问题。与汽油和柴油汽车单独使用燃料不同,电动汽车用户习惯于在夜间为汽车充电。
并不是说汽车电量会在一夜之间耗尽,但电动汽车充电不可避免地比用泵加油要慢,而且过夜时间是理想的 —— 用户只需要记得插上充电电源。
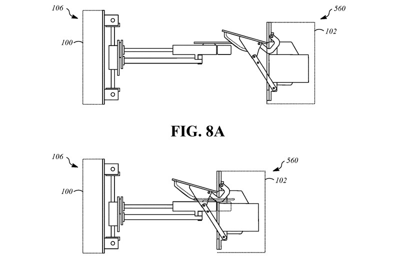
在一项新授予的修订专利中,名为“具有被动对齐机制的充电站 (Charging station with passive alignment mechanism)”,苹果提出了这样一种工程系统,该系统可以让司机停车并让车辆立即开始充电。
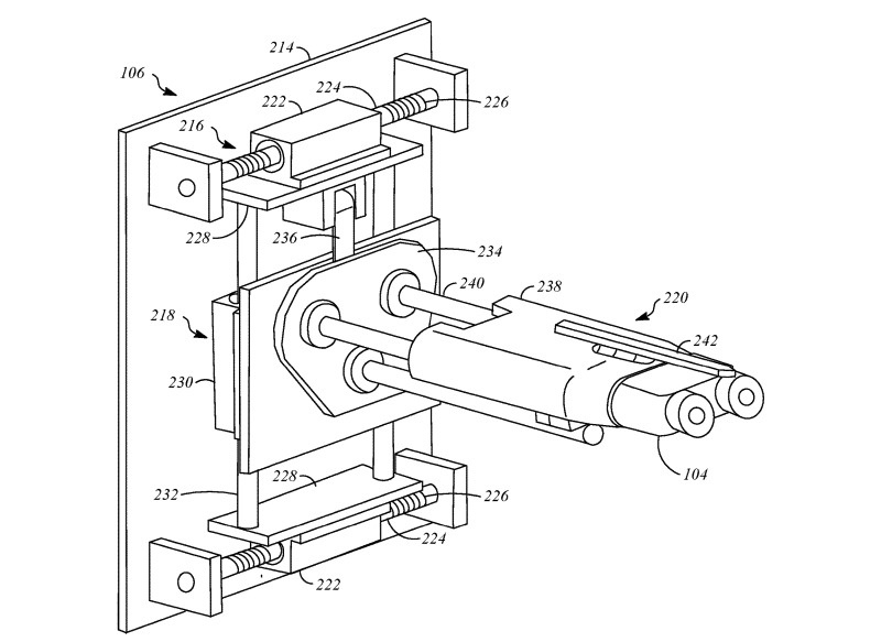
该系统主要涉及带有充电插头的充电站,该充电插头设计用于插入车辆本身的接收插座。塞子连接到滑动杆上,可以垂直和水平移动塞子的位置,以允许驾驶员不完美的停车尝试和车辆高度的变化。
虽然车辆上插座的高度可能在不同型号甚至制造商之间是相同的,但仍有一些潜在的高度变化方式。两个例子是作为负载放入车辆的额外重量,以及轮胎的压力。

在操作中,车辆将为其充电插座配备一个盖子,当它接近充电站时,该盖子通过向上移动打开。驾驶员或自动驾驶车辆系统必须尝试将车辆定位在尽可能靠近其预期终点的位置,以最大限度地增加与充电站适当连接的机会。
停车工作不一定要完美,只要在允许充电插头连接的范围内即可。专利的其余部分解释了插头可以将其位置调整到需要的位置,并且可以相对被动地这样做。
充电点通过滑动杆的移动允许插头被车辆推回,例如如果驾驶员将车辆移动到更靠近充电站的位置,以最大限度地减少插头撞击车辆造成的损坏。

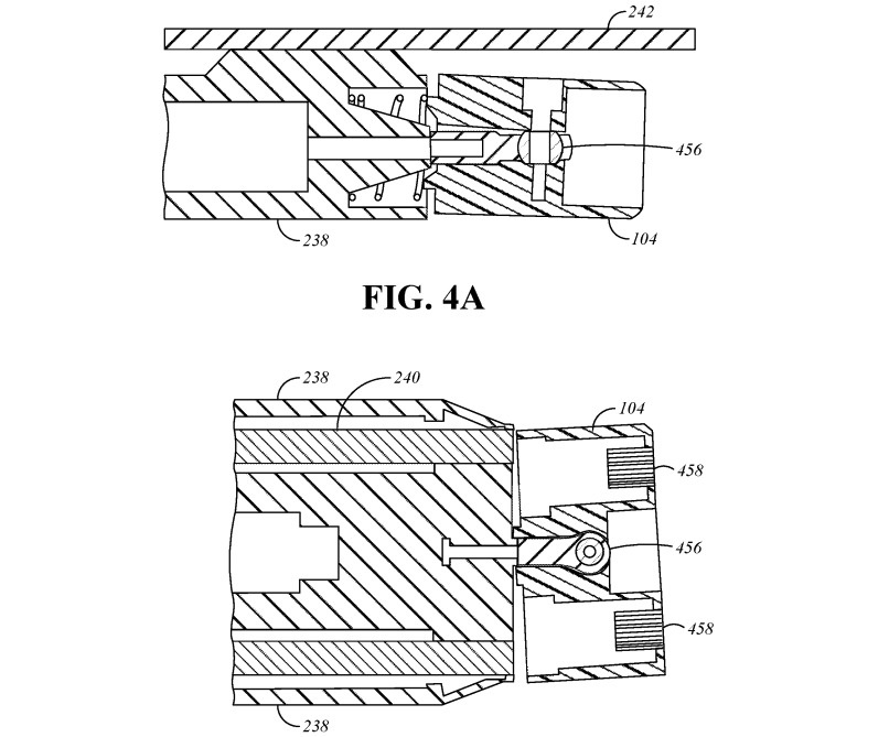
为了增加对可能易碎的充电插头的保护,在组件上方放置了一块板,以应对任何沉重的冲击。它还有助于引导插头向下滑动以通过压在车辆的襟翼上与插座相接,该襟翼也有一定角度以促进向插座本身移动。
为了进一步增加合适连接的机会,插座周围的区域也可以充当漏斗,将插头转移到插座中。苹果还建议使用磁铁来固定联轴器。
最后,充电插头本身将能够垂直和水平旋转,一旦操纵到正确的位置,可以改变角度以确保完美就座。

该专利将其发明者列为 Matthew M。 Torok、Foster D。 Collins 和 William M。 Price。