还有3个信息需要填写哦~
底价将以短信的形式发送到您的手机
个人信息不会泄露给第三方
个人信息不会泄露给第三方
获取底价
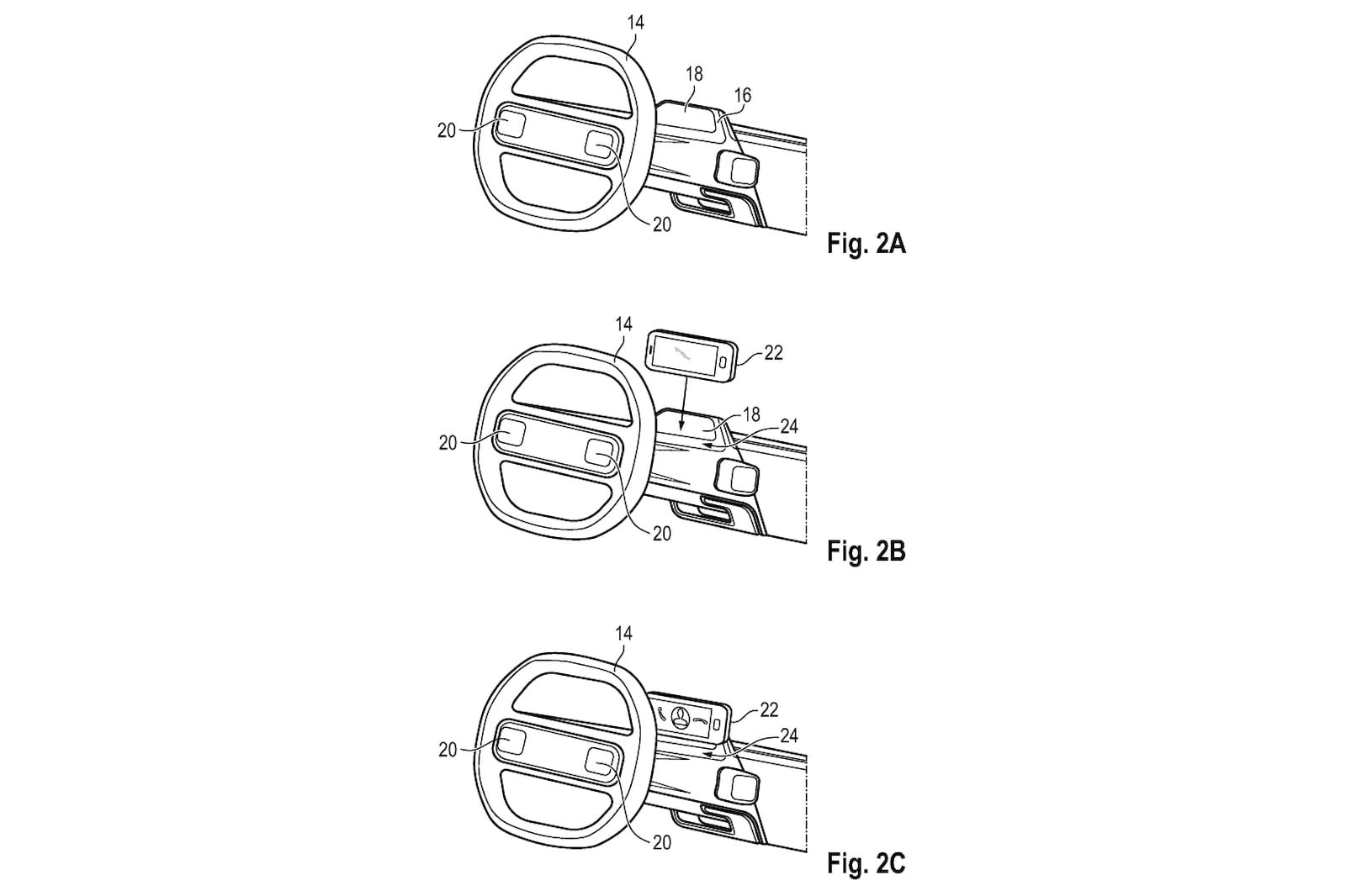
IT之家 6 月 25 日消息,日前,大众汽车向德国专利和商标局提交了一份专利,其显示大众正在研究一种可拆卸的汽车仪表,并支持将手机、平板当成汽车仪表使用。

IT之家从专利图中注意到,在原有的仪表盘显示位置,用户可以放置一台尺寸更大、性能更强的设备,或者直接把智能手机、平板电脑装在这个位置上。
同时,在这块可移动的屏幕后面,大众还配有一块显示基本信息的显示屏,它将只用来显示速度、能耗、故障灯等驾驶信息。
至于这块可拆卸的“显示屏”,则可以用来处理更多信息,比如导航、媒体控制及车载电话功能。

大众还表示,这种可拆卸的仪表盘 / 驾驶员信息显示屏将允许用户对汽车软件进行持续更新升级,且不会影响车辆的运行。用户将只需在移动设备上下载指定 App,且车辆支持蓝牙、NFC、网络连接的话,手机和车辆之间即可实现上述交互。